3-fázová sestava
Tato kompletní sada toroidních transformátorů je určena k přímé montáži do Vašich rozvaděčů a el.zařizení. Tato sada je složena z 1ks oddělovacího transformátoru dle ČSN EN 61558-2-4 a 3 ks jednofázových bezpečnostních transformátorů dle ČSN EN 61558-2-6, které jsou použity a zapojeny jako třífázový transformátor.
Výhody tohoto kompletu toroidních transformátoru jsou jasné...
- malé vestavné rozměry
- nižší hmotnost ve srovnání s klasickým transformátorem
- vysoká účinnost
- úspora el. energie při chodu naprázdno i při zatížení
- nepatrný rozptylový tok a brum
- jednoduchá montáž do Vašeho zařizení – všechny ovládací prvky na DIN liště
- malá rezerva pro Vás
Rozměry – velká variabilita s ohledem na velké možnosti nákupu různých jader

Stačí vyvrtat jen 6 otvorů a celá sada je upevněna k základní desce. Na panelu rozvaděče budou vidět jen ovládací prvky.
Dle Vašeho požadavku vyrobíme 3f-sadu do výkonu 15kVA a napětí do 400V. Tato sada může být dodána s oddělovacím transformátorem nebo bez oddělovacího transformátoru.
V případě zadání parametrů transformátoru dle Vašeho přání upřesníme v nabídce rozměry.
Příklad

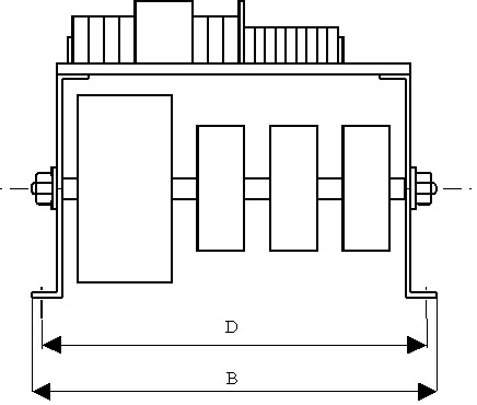
Rozměr sestavy
| Typ | A | B | C | D | E | F | Otvor pro uchycení 6x |
| 1. | 40 | 376 | 220 | 360 | 50 | 75 | 5,5 |
| 2. | 200 | 420 | 270 | 400 | 60 | 105 | 6,5 |
Typ 1.
Je vhodný pro oddělovací transformátor do výkonu 500 VA např. Pri.:400V Sek.:230V a 3 ks. bezpečnostních transformátorů do výkonu 500 VA např. Pri.:400V Sek.:18V Hmotnost uvedené sestavy nepřesáhne 20 kg při výkonu cca 2000 VA a rozměrech dle tabulky.
Typ 2.
Je vhodný pro oddělovací transformátor do výkonu 2500 VA např. Pri.:400VSek.:230V a 3 ks. bezpečnostních transformátorů do výkonu 500 VA např. Pri.:400V Sek.:18V Hmotnost uvedené sestavy nepřesáhne 29 kg při výkonu cca 4000 VA a rozměrech dle tabulky.